CANSEC 2026: Meet the Team
Book a Time
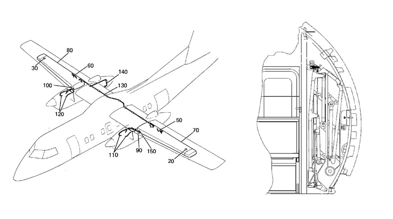
HomepageAll Up Weight Limitation Increase (1000 lb)

All Up Weight Limitation Increase (1000 lb)

Abstract black and white image showing wavy, glowing lines and small dots resembling a digital topographic map or landscape, with undulating patterns and a sense of depth.

More about All Up Weight Limitation Increase (1000 lb)

Contact us about ‘All Up Weight Limitation Increase (1000 lb)’